Apple Car no está muerto, revela la nueva patente de techo corredizo - Imperio Noticias

>

Apple Car no está muerto, revela la nueva patente de techo corredizo

Parece que Apple sigue luchando por sacar su propio coche al mercado.

El Apple Car no está muerto, revela nueva patente de techo corredizo

El gigante tecnológico Apple ha estado buscando diversificarse uniéndose a la industria automotriz, pero hasta ahora las cosas no han ido bien.

A pesar de que Apple logró robar recursos humanos de algunos de los nombres más importantes de la industria y los rumores que sugerían que el automóvil eléctrico autónomo llegaría en 2025, lo último que escuchamos fue que la compañía se había topado con otro obstáculo cuando tres ingenieros clave decidieron buscar ‘pastos más verdes’.



Como resultado de esta montaña rusa de informes, parecía cada vez más probable que el proyecto nunca despegue.

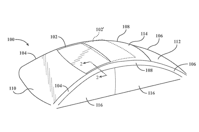
Pero ayer, la buena gente de MotorTrend informó sobre una nueva patente que sugiere dos cosas: todavía se está trabajando en el automóvil de Apple y vendrá con un techo corredizo único.

Apple y la industria automotriz



Según la presentación ante la Oficina de Patentes y Marcas de los Estados Unidos (USPTO), la patente se solicitó originalmente en 2016 antes de actualizarse en octubre de 2020.



Por lo que podemos decir, este techo corredizo parece combinar un techo corredizo que se puede abrir como es convencional actualmente con una ventana de vidrio de opacidad variable, similar a la tecnología Magic Sky que Mercedes ofrece en autos como el Mercedes-Maybach S.

Básicamente, parece que Apple quiere combinar un techo corredizo de vidrio con tecnología que pueda ajustar la oscuridad del panel, eliminando así la necesidad de una persiana móvil.

Aunque el concepto parece bastante sencillo y no parece ser nada nuevo, es la primera vez que la tecnología de opacidad variable se combina con un techo corredizo que se puede abrir en lugar de un techo de vidrio panorámico fijo.



Desafortunadamente, los dibujos de la patente no revelan más del automóvil y parece que todavía tendremos una larga espera por delante antes de tener una idea de cómo se verá el modelo de producción.

Sin embargo, cualquier tipo de desarrollo en el automóvil de Apple es una buena noticia para la industria. El poder de marca de Apple seguramente ayudará a fomentar un mayor sentido de competencia en el segmento premium.

Pero el fabricante del iPhone ciertamente necesitará mucho más que un techo corredizo engañoso para alejar a los compradores del Tesla Model S, el Hyundai Ioniq 5, el Volkswagen ID.4 y otras ofertas establecidas.



En las noticias seguiremos las noticias más recientes de Apple como que permitirá a empresas guardar aplicaciones secretas en la App Store.



El Apple Car no está muerto, revela nueva patente de techo corredizo

Síguenos en Facebook y entérate de las noticias trend de la semana

No hay comentarios.:

Publicar un comentario